前端:原生APP
安卓端:Java
苹果端:OC
后台:PHP
数据库:Mysql
技术框架:Thinkphp5.1
系统特色功能包括:礼物系统;提现方式;连麦送礼PK;直播间红包;主播守护;小视频拍摄;引导图功能,系统具备了运营级手机直播平台的全部基础功能设置,完全开源 。
后台功能展示:

2、设置
1)网站信息:网站信息、SEO设置、APP版本管理、登录开关、分享设置、直播管理、美颜/萌颜、付费内容、登录协议弹窗、微信小程序版本管理。
2)私密设置:基本设置、登录配置、直播配置、映票提现配置、推送配置、支付配置、邀请奖励、统计配置、视频配置、店铺/商品配置、动态配置、游戏配置、物流配置、每日任务、云存储配置。
3)幻灯片管理:幻灯片列表、添加幻灯片
4)引导页:引导配置、引导管理
5)上传设置:上传图片、视频、音频文件等设置


3、用户管理:
1)管理组:角色管理、管理员、操作日志
2)用户组:本站用户、标签管理

4、奖池管理、身份认证管理

5、直播管理:直播分类、禁播管理、禁言管理、踢人管理、直播列表、直播监控、礼物管理、贴纸列表、直播记录、游戏记录

6、举报管理:举报分类、举报列表
7、动态管理:审核通过、等待审核、未通过、下架列表、举报类型、举报列表、话题标签等

8、视频管理:音乐分类、音乐管理、视频分类、审核通过列表、待审核列表、未通过列表等

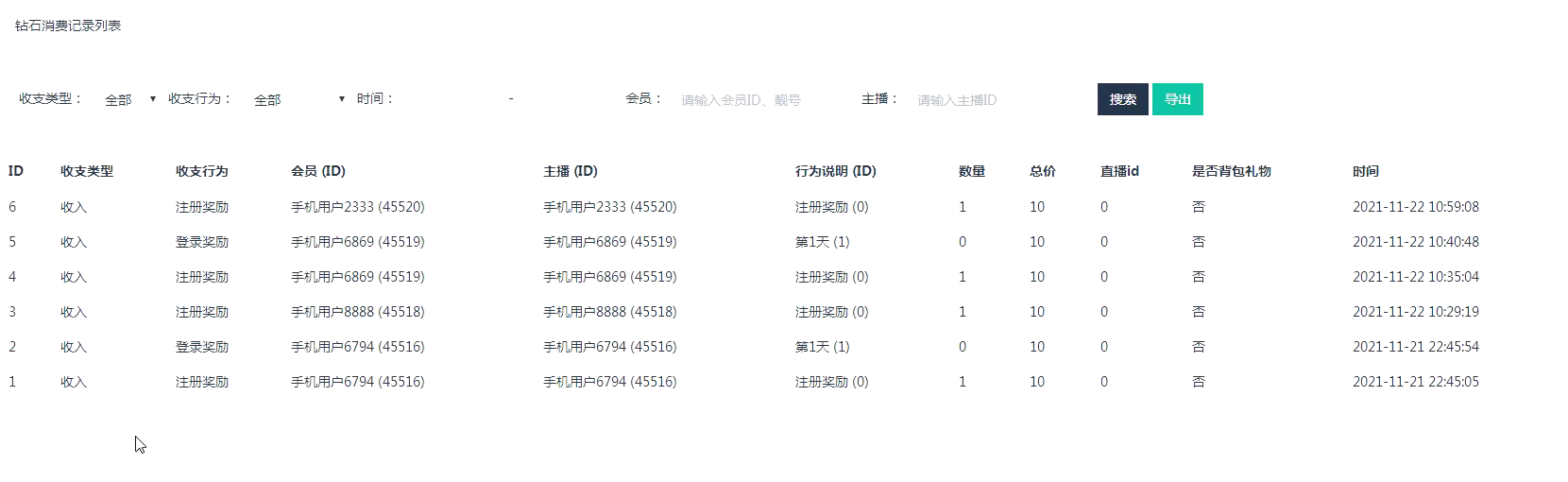
9、财务管理:充值规则、钻石充值记录、手动充值钻石、钻石消费记录、映票提现记录、积分记录等

10、家族管理:家族列表、成员管理、分成申请列表等
11、道具管理:坐骑管理、靓号管理、VIP管理
12、红包管理、守护管理
13、等级管理:用户等级、主播等级
14、邀请奖励:邀请关系、邀请收益
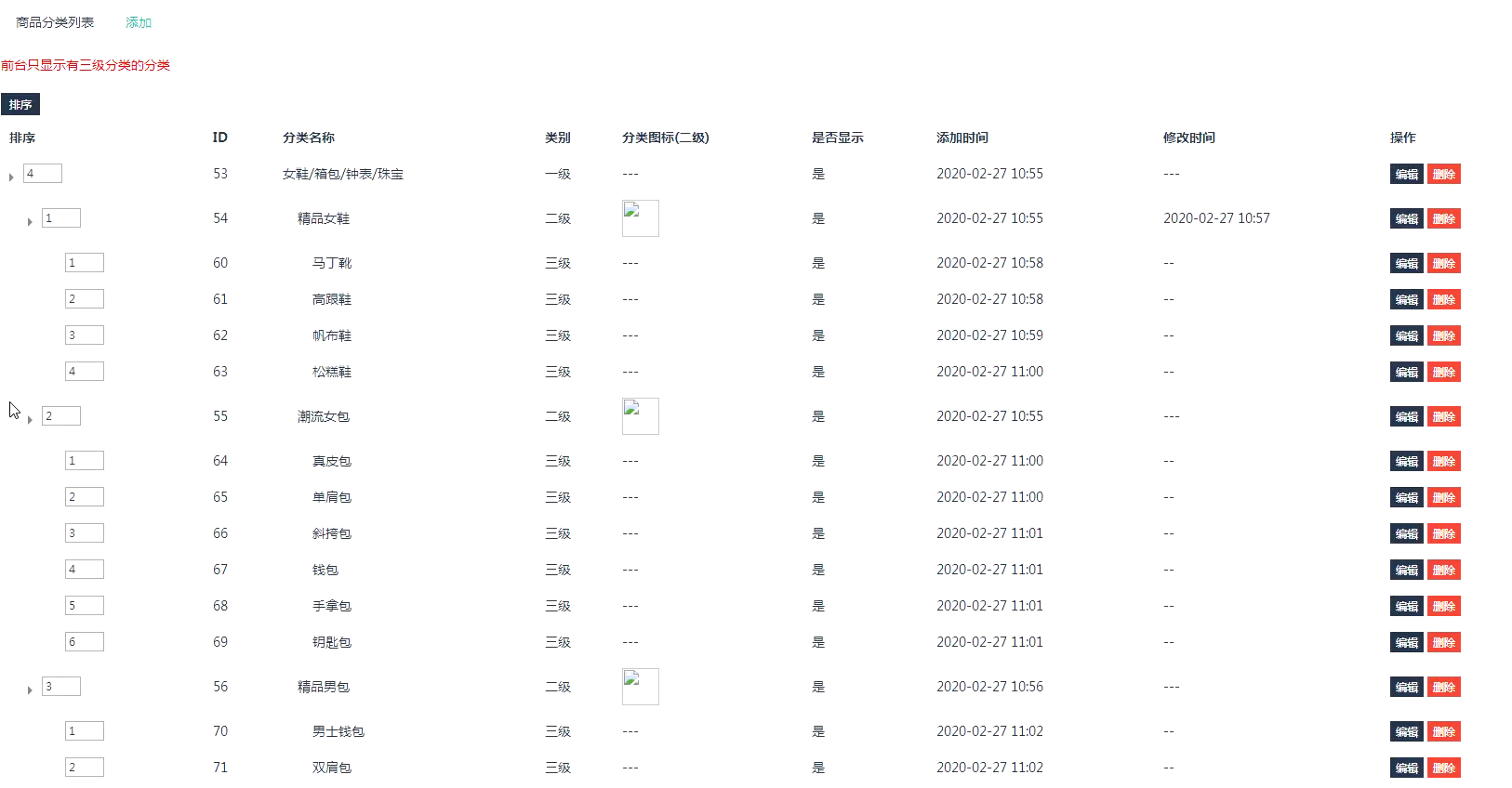
15、店铺管理:店铺申请、保证金、商品管理、商品分类列表、收货地址管理、物流公司列表、买家申请退款原因、卖家拒绝退款原因、退款平台介入原因、商品订单列表、退款列表、提现记录、余额手动充值、经营类目申请等


16、大转盘:价格管理、奖品管理、转盘记录、线下奖品
17、登录奖励:登录奖励列表、登录奖励记录
18、消息管理:验证码管理、推送管理、直播间消息
19、内容管理:用户反馈、页面管理
20、付费内容:付费内容分类列表、付费内容列表、付费内容申请列表、付费内容订单

我是Google云的新手,我正在尝试对其进行首次部署。我的第一个部署是RubyonRails项目。我基本上是在关注thisguideinthegoogleclouddocumentation.唯一的区别是我使用的是我自己的项目,而不是他们提供的“helloworld”项目。这是我的app.yaml文件runtime:customvm:trueentrypoint:bundleexecrackup-p8080-Eproductionconfig.ruresources:cpu:0.5memory_gb:1.3disk_size_gb:10当我转到我的项目目录并运行gcloudprevie
当我在我的Rails应用程序根目录中运行rakedoc:app时,API文档是使用/doc/README_FOR_APP作为主页生成的。我想向该文件添加.rdoc扩展名,以便它在GitHub上正确呈现。更好的是,我想将它移动到应用程序根目录(/README.rdoc)。有没有办法通过修改包含的rake/rdoctask任务在我的Rakefile中执行此操作?是否有某个地方可以查找可以修改的主页文件的名称?还是我必须编写一个新的Rake任务?额外的问题:Rails应用程序的两个单独文件/README和/doc/README_FOR_APP背后的逻辑是什么?为什么不只有一个?
一、引擎主循环UE版本:4.27一、引擎主循环的位置:Launch.cpp:GuardedMain函数二、、GuardedMain函数执行逻辑:1、EnginePreInit:加载大多数模块int32ErrorLevel=EnginePreInit(CmdLine);PreInit模块加载顺序:模块加载过程:(1)注册模块中定义的UObject,同时为每个类构造一个类默认对象(CDO,记录类的默认状态,作为模板用于子类实例创建)(2)调用模块的StartUpModule方法2、FEngineLoop::Init()1、检查Engine的配置文件找出使用了哪一个GameEngine类(UGame
我正在使用Postgres.app在OSX(10.8.3)上。我已经修改了我的PATH,以便应用程序的bin文件夹位于所有其他文件夹之前。Rammy:~phrogz$whichpg_config/Applications/Postgres.app/Contents/MacOS/bin/pg_config我已经安装了rvm并且可以毫无错误地安装pggem,但是当我需要它时我得到一个错误:Rammy:~phrogz$gem-v1.8.25Rammy:~phrogz$geminstallpgFetching:pg-0.15.1.gem(100%)Buildingnativeextension
动漫制作技巧是很多新人想了解的问题,今天小编就来解答与大家分享一下动漫制作流程,为了帮助有兴趣的同学理解,大多数人会选择动漫培训机构,那么今天小编就带大家来看看动漫制作要掌握哪些技巧?一、动漫作品首先完成草图设计和原型制作。设计草图要有目的、有对象、有步骤、要形象、要简单、符合实际。设计图要一致性,以保证制作的顺利进行。二、原型制作是根据设计图纸和制作材料,可以是手绘也可以是3d软件创建。在此步骤中,要注意的问题是色彩和平面布局。三、动漫制作制作完成后,加工成型。完成不同的表现形式后,就要对设计稿进行加工处理,使加工的难易度降低,并得到一些基本准确的概念,以便于后续的大样、准确的尺寸制定。四、
2022/8/4更新支持加入水印水印必须包含透明图像,并且水印图像大小要等于原图像的大小pythonconvert_image_to_video.py-f30-mwatermark.pngim_dirout.mkv2022/6/21更新让命令行参数更加易用新的命令行使用方法pythonconvert_image_to_video.py-f30im_dirout.mkvFFMPEG命令行转换一组JPG图像到视频时,是将这组图像视为MJPG流。我需要转换一组PNG图像到视频,FFMPEG就不认了。pyav内置了ffmpeg库,不需要系统带有ffmpeg工具因此我使用ffmpeg的python包装p
Transformers开始在视频识别领域的“猪突猛进”,各种改进和魔改层出不穷。由此作者将开启VideoTransformer系列的讲解,本篇主要介绍了FBAI团队的TimeSformer,这也是第一篇使用纯Transformer结构在视频识别上的文章。如果觉得有用,就请点赞、收藏、关注!paper:https://arxiv.org/abs/2102.05095code(offical):https://github.com/facebookresearch/TimeSformeraccept:ICML2021author:FacebookAI一、前言Transformers(VIT)在图
目前我正在使用这个正则表达式从YoutubeURL中提取视频ID:url.match(/v=([^&]*)/)[1]我怎样才能改变它,以便它也可以从这个没有v参数的YoutubeURL获取视频ID:http://www.youtube.com/user/SHAYTARDS#p/u/9/Xc81AajGUMU感谢阅读。编辑:我正在使用ruby1.8.7 最佳答案 对于Ruby1.8.7,这就可以了。url_1='http://www.youtube.com/watch?v=8WVTOUh53QY&feature=feedf'url
我的测试尝试访问网页并验证页面上是否存在某些元素。例如,它访问http://foo.com/homepage.html并检查Logo图像,然后访问http://bar.com/store/blah.html并检查页面上是否出现了某些文本。我的目标是访问经过Kerberos身份验证的网页。我发现Kerberos代码如下:主文件uri=URI.parse(Capybara.app_host)kerberos=Kerberos.new(uri.host)@kerberos_token=kerberos.encoded_tokenkerberos.rb文件classKerberosdefini
1.回顾.TransportServicepublicclassTransportServiceextendsAbstractLifecycleComponentTransportService:方法:1publicfinalTextendsTransportResponse>voidsendRequest(finalTransport.Connectionconnection,finalStringaction,finalTransportRequestrequest,finalTransportRequestOptionsoptions,TransportResponseHandlerT>