

1. 芯片STC89C52
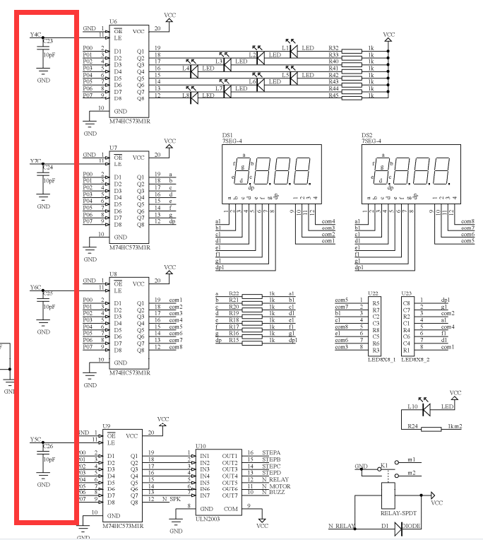
当看见这张原理图时,我们首先找到,这块板子上最重要的芯片STC89C52

我们通过上面这张图,很清晰的看出来,该芯片有6组IO口,分别为P0~P5。
P5^4为复位端口
另外,通过每一个端口后的备注,我们可以大致了解到该端口的功能。以外部中断0为例

我们可以看见,P3^2口,即可以用作普通IO口,也可以用作外部中断0
2. LED灯模块
大致了解完该芯片的端口后,我们就可以看其他的元器件了,我的方法是从板子上的LDE灯入手(也可以选择其它的部分),原理图是一点点把它看懂的,需要用哪个器件,就去看哪个器件。


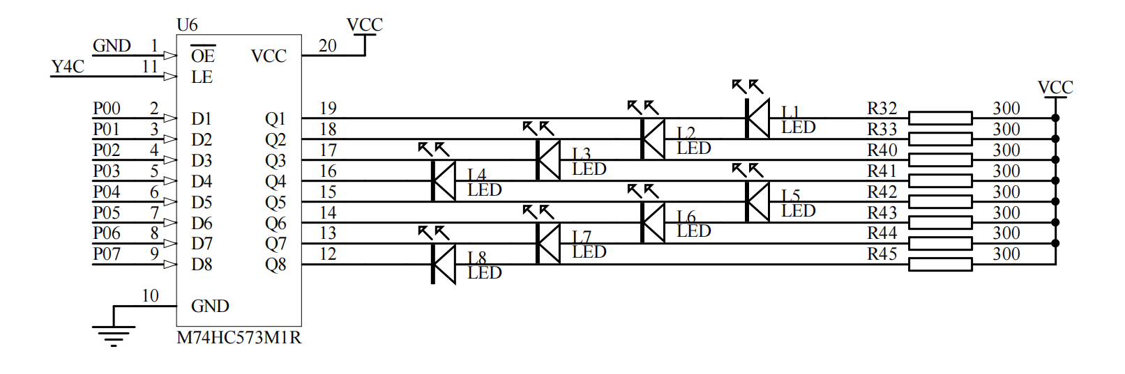
我们首先看看LED灯模块。大家都知道,LED灯是一个二极管的发光器件,有单向导通性,只有阳极为高电平,阴极为低电平时,发光二极管才会导通发光。
根据原理图,我们可以知道,这一组发光二极管的阳极,已经给了一个高电平,所以只要我们在阴极给出一个低电平,就可以让二极管发光。
学过51的朋友都知道,要给出一个低电平,我们只需要令IO口为0,就可以了。
但是呢,这一块板子,你直接令P0口为0,是无法点亮IO口的。大家可能注意到了,在P0端口与发光二极管之间有一个芯片74HC573。





它是一个非反转的锁存器,即它可以把P0口的数据存住。这样就算P0口数据改变,寄存器也可以把它改变前的数据锁在输出口上。我们可以通过原理图发现,比赛用的板子上有4片74HC573芯片。

用了74HC573后,我们就可以通过P0口,控制多个器件。该单片机上的数码管,LED灯,直流电机,步进电机,蜂鸣器,继电器的使用都与这个寄存器有关。

数码管模块,运用了2个74HC573进行控制

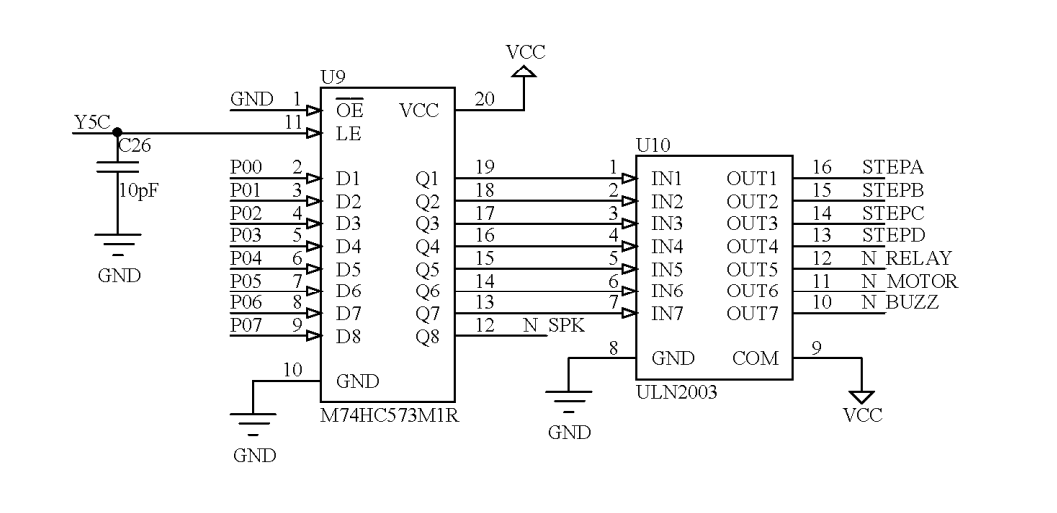
第4个74HC573芯片,用来控制直流电机,步进电机,继电器,蜂鸣器
上图中的ULN2003是达林顿晶体管,这个芯片的作用是增强IO口的驱动能力,因为蜂鸣器等模块的驱动需要较大电流。
需要用到该芯片的使能功能,既Y4C,Y5C,Y6C, Y7C使能端口,选择其中某一个为高电平既可以控制该芯片。

用到了板子上的138译码器

上图的具体原理我就不进行讲解了。大家看了之后,都应该可以看出,138译码器这里的作用是用P25,P26, P27,也就是P2口的高三位来控制位选的。
3. 继电器模块

当继电器模块打开时,K1会与m2相连,此时m2上有电流,L10会发光
看懂原理图其实很简单,我们要一个一个的模块去看,找到一个入手点,,只有这样才能够较为轻松的看懂一张原理图每一个模块上都有其管脚的定义名称,相同定义的,说明二者相连
说在前面这部分我本来是合为一篇来写的,因为目的是一样的,都是通过独立按键来控制LED闪灭本质上是起到开关的作用,即调用函数和中断函数。但是写一篇太累了,我还是决定分为两篇写,这篇是调用函数篇。在本篇中你主要看到这些东西!!!1.调用函数的方法(主要讲语法和格式)2.独立按键如何控制LED亮灭3.程序中的一些细节(软件消抖等)1.调用函数的方法思路还是比较清晰地,就是通过按下按键来控制LED闪灭,即每按下一次,LED取反一次。重要的是,把按键与LED联系在一起。我打算用K1来作为开关,看了一下开发板原理图,K1连接的是单片机的P31口,当按下K1时,P31是与GND相连的,也就是说,当我按下去时
目录前言: 一、ASC分析代码实现二、 卡片分析代码实现三、 直线分析代码实现四、货物摆放分析代码实现小结:前言: 在刷题的过程中,发现蓝桥杯的题目和力扣的差别很大。让人有一种不一样的感觉,蓝桥杯题目偏向对于实际问题用编程去的解决,而力扣给人感觉很锻炼自己的编程思维,逻辑能力。两者结合去刷,相信会有不一样的收获。 一、ASC 已知大写字母A的ASCII码为65,请问大写字母L的ASCII码是多少?分析 这道题目看上去很简单,我们需确定自己计算的准确,所以我建议用编程去解决。代码实现publicclassTest8{publicstaticvoidmain(String[]args){Sy
一、什么是MQTT协议MessageQueuingTelemetryTransport:消息队列遥测传输协议。是一种基于客户端-服务端的发布/订阅模式。与HTTP一样,基于TCP/IP协议之上的通讯协议,提供有序、无损、双向连接,由IBM(蓝色巨人)发布。原理:(1)MQTT协议身份和消息格式有三种身份:发布者(Publish)、代理(Broker)(服务器)、订阅者(Subscribe)。其中,消息的发布者和订阅者都是客户端,消息代理是服务器,消息发布者可以同时是订阅者。MQTT传输的消息分为:主题(Topic)和负载(payload)两部分Topic,可以理解为消息的类型,订阅者订阅(Su
TCL脚本语言简介•TCL(ToolCommandLanguage)是一种解释执行的脚本语言(ScriptingLanguage),它提供了通用的编程能力:支持变量、过程和控制结构;同时TCL还拥有一个功能强大的固有的核心命令集。TCL经常被用于快速原型开发,脚本编程,GUI和测试等方面。•实际上包含了两个部分:一个语言和一个库。首先,Tcl是一种简单的脚本语言,主要使用于发布命令给一些互交程序如文本编辑器、调试器和shell。由于TCL的解释器是用C\C++语言的过程库实现的,因此在某种意义上我们又可以把TCL看作C库,这个库中有丰富的用于扩展TCL命令的C\C++过程和函数,所以,Tcl是
文章目录认识unity打包目录结构游戏逆向流程Unity游戏攻击面可被攻击原因mono的打包建议方案锁血飞天无限金币攻击力翻倍以上统称内存挂透视自瞄压枪瞬移内购破解Unity游戏防御开发时注意数据安全接入第三方反作弊系统外挂检测思路狠人自爆实战查看目录结构用il2cppdumper例子2-森林whoishe后记认识unity打包目录结构dll一般很大,因为里面是所有的游戏功能编译成的二进制码游戏逆向流程开发人员代码被编译打包到GameAssembly.dll中使用il2ppDumper工具,并借助游戏名_Data\il2cpp_data\Metadata\global-metadata.dat
开门见山|拉取镜像dockerpullelasticsearch:7.16.1|配置存放的目录#存放配置文件的文件夹mkdir-p/opt/docker/elasticsearch/node-1/config#存放数据的文件夹mkdir-p/opt/docker/elasticsearch/node-1/data#存放运行日志的文件夹mkdir-p/opt/docker/elasticsearch/node-1/log#存放IK分词插件的文件夹mkdir-p/opt/docker/elasticsearch/node-1/plugins若你使用了moba,直接右键新建即可如上图所示依次类推创建
文章目录概念索引相关操作创建索引更新副本查看索引删除索引索引的打开与关闭收缩索引索引别名查询索引别名文档相关操作新建文档查询文档更新文档删除文档映射相关操作查询文档映射创建静态映射创建索引并添加映射概念es中有三个概念要清楚,分别为索引、映射和文档(不用死记硬背,大概有个印象就可以)索引可理解为MySQL数据库;映射可理解为MySQL的表结构;文档可理解为MySQL表中的每行数据静态映射和动态映射上面已经介绍了,映射可理解为MySQL的表结构,在MySQL中,向表中插入数据是需要先创建表结构的;但在es中不必这样,可以直接插入文档,es可以根据插入的文档(数据),动态的创建映射(表结构),这就
?作者主页:静Yu?简介:CSDN全栈优质创作者、华为云享专家、阿里云社区博客专家,前端知识交流社区创建者?社区地址:前端知识交流社区?博主的个人博客:静Yu的个人博客?博主的个人笔记本:前端面试题个人笔记本只记录前端领域的面试题目,项目总结,面试技巧等等。接下来会更新蓝桥杯官方系统基础练习的VIP试题,依然包括解题思路,源代码等等。问题描述:给定当前的时间,请用英文的读法将它读出来。时间用时h和分m表示,在英文的读法中,读一个时间的方法是: 如果m为0,则将时读出来,然后加上“o’clock”,如3:00读作“threeo’clock”。 如果m不为0,则将时读出来,然后将分读出来,如5
HTTP缓存是指浏览器或者代理服务器将已经请求过的资源保存到本地,以便下次请求时能够直接从缓存中获取资源,从而减少网络请求次数,提高网页的加载速度和用户体验。缓存分为强缓存和协商缓存两种模式。一.强缓存强缓存是指浏览器直接从本地缓存中获取资源,而不需要向web服务器发出网络请求。这是因为浏览器在第一次请求资源时,服务器会在响应头中添加相关缓存的响应头,以表明该资源的缓存策略。常见的强缓存响应头如下所述:Cache-ControlCache-Control响应头是用于控制强制缓存和协商缓存的缓存策略。该响应头中的指令如下:max-age:指定该资源在本地缓存的最长有效时间,以秒为单位。例如:Ca
本人是音乐爱好者,从小就特别喜欢那个随着音乐跳动的方框效果,就是这个:arduino上一大把对,我忍你很久了,我就想用mpy做,全网没有,行我自己研究。果然兴趣是最好的老师,我之前有篇博客专门讲音频,有兴趣的可以回顾一下。提到可视化频谱,必然绕不开fft,大学学过这玩意,当时一心玩,老师讲的一个字都么听进去,网上教程简略扫了一下,大该就是把时域转频域的工具,我大mpy居然没有fft函数,奶奶的,先放着。音频信息如何收集?第一种傻瓜式的ADC,模拟转数字,原始粗暴,第二种,I2S库,我之前博客有讲过,数据是PCM编码。然后又去学PCM编码,一学豁然开朗,舒服,以代码为例:audio_in=I2S